金融商品取引業者 関東財務局長(金商)第1960号/加入協会 一般社団法人 日本投資顧問業協会 会員番号 012-02323
GogoJungleトップへ
icon
一覧
GogoJungleへ
記事作成
閉じる
×
マイページを見る
ログアウト
あとで読む
0
お気に入り
0
購入済み
0
記事作成
GogoJungleトップ
GogoJungleトップ
カート
お知らせ
ご利用ガイド
カタナ
2025/04/18 08:31
フォローする
公開:
2025/04/18 08:31
更新:
2025/04/18 08:31
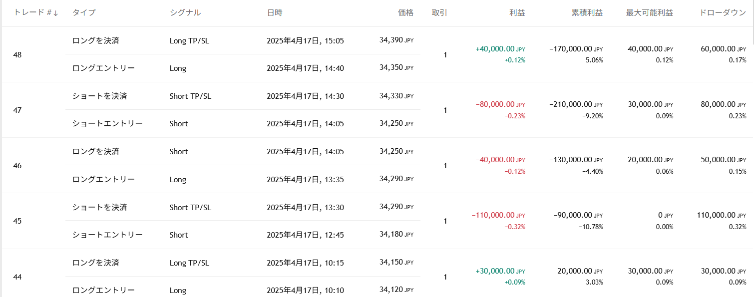
システムトレード 2025/4/17
日経225
転換判定戦略
スナイパー戦略
参考
×
#システムトレード
コメント
ログインして投稿する
コメントを削除します。
よろしいですか?
はい
いいえ
この記事の作者
カタナ
日経平均先物のシステムトレーダー。日系証券、外資系証券での各種トレーディング経験を経て2013年に独立。 以降、日経平均先物を主とした裁量トレーディングからスタート。 トレーディングにおける人間心理が及ぼす悪影響を低減するためにシステマティックトレーディング経て現在は完全システム自動売買を行う。
フォローする
This website requires JavaScript.
よろしいですか?