ゴールド雷神(Gold Raijin EA)―「負けが小さすぎるEA」は、なぜ最終的に勝ち残るのか?
Gold Raijin EA
― 負けを極限まで小さく、勝ちを最大化する設計思想 ―
EA を評価する際、
多くの方はまず 勝率(Win Rate) に目が行きがちです。
しかし、長期的に安定して利益を積み上げられるかどうかを決める本質は、
「1トレードあたりの損失と利益のバランス」 にあります。
Gold Raijin は、
まさにこの点を最優先に設計されたゴールド専用EAです。
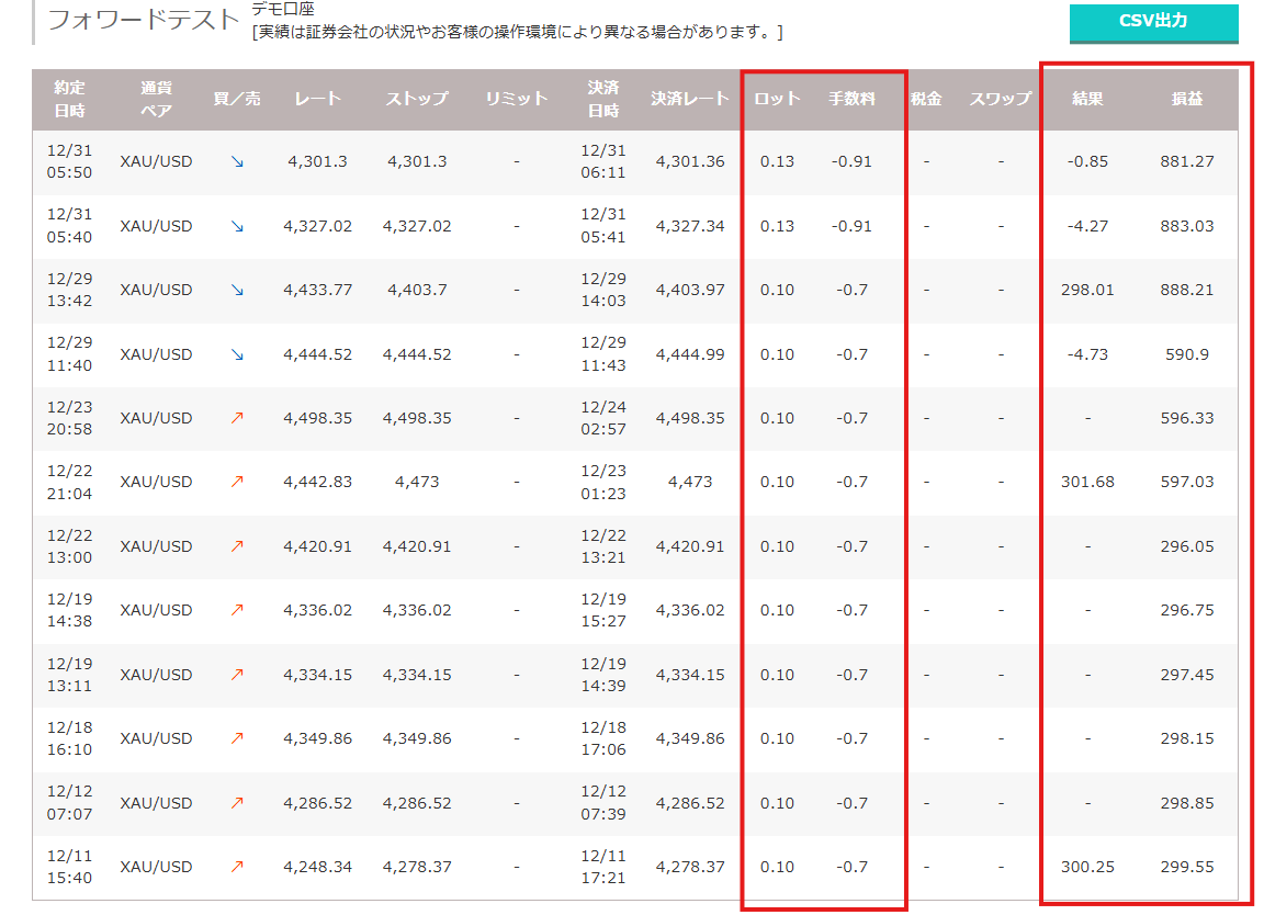
■ 負けトレードが「非常に小さい」
Gold Raijin の最大の特徴の一つは、
損失トレードが極めて小さく抑えられている点です。
エントリーが否定された場合は早めに撤退
無理に耐えるロジックは採用していない
ドローダウンを最小限に抑える設計
そのため、
数回連続で負けたとしても、口座へのダメージは限定的です。
これは、
感情的なトレードを排除し、
長期運用を前提としたEAならではの特徴と言えます。
■ 勝ちトレードは「大きく伸ばす」
一方で、
相場の流れを正しく捉えた場合は、
利益をしっかりと伸ばす設計になっています。
利益幅は損失幅を大きく上回る
1回の勝ちトレードで複数回分の損失をカバー可能
結果として 高い Risk / Reward 比 を実現
この構造により、
勝率が極端に高くなくても、トータルではプラスになる
という、非常に健全なトレードバランスが成立しています。
■ Win Rate は「派手ではないが安定」
Gold Raijin は、
100%勝つEAでも、短期爆発型のEAでもありません。
しかし、
勝率は安定して推移
無駄なエントリーが少ない
トレードの質が均一
という特徴があります。
その結果、
右肩上がりのカーブを描きやすい
実運用向きのEAとなっています。
■ なぜバックテストとリアルが近いのか
Gold Raijin は
数pipsを狙う超高速スキャルピングではありません。
そのため:
スプレッドや約定差の影響を受けにくい
バックテストとリアル結果の乖離が小さい
再現性が非常に高い
?
「バックテストだけ良いEA」ではなく、
リアル運用でも同じ構造が機能するEA
である点が評価されています。
■ まとめ
Gold Raijin は、
負けは小さく
勝ちは大きく
勝率は安定的
という、
トレードの基本原則を忠実に守ったEAです。
短期的な派手さよりも、
長期的に資金を守りながら増やすことを重視する方にとって、
非常に相性の良いシステムと言えるでしょう。
実際の成績や詳細データは、
ぜひ Gogojungle の公開情報をご確認ください。
よろしいですか?